БП120Б-Д9-24С Овен

Производитель: Овен
Номер по каталогу: 14752 Производитель: Овен Цена: 13 542.00 q ( с НДС ) Описание: Одноканальный блок питания 24В постоянного тока. Максимальная выходная мощность 120Вт. Для питания стабилизированным напряжением 24 В постоянного тока широкого спектра радиоэлектронных устройств в условиях низких (до -40 ºС) и высоких (до +70 ºС) температур.
  • Техническое описание
  • Документация

Назначение блока питания БП120Б-Д9-24С

Одноканальный блок питания ОВЕН БП120Б-Д9-24С для тяжелых условий эксплуатации. Предназначен для питания стабилизированным напряжением 24 В постоянного тока широкого спектра радиоэлектронных устройств (релейной автоматики, контроллеров, датчиков и т.п.) в условиях низких (до -40 ºС) и высоких (до +70 ºС) температур.

Основные функции БП120Б-Д9-24С

  • Расширенное климатическое исполнение. Блоки питания функционирует в диапазоне окружающих температур от -40 до +70 ºС. Во всем диапазоне сохраняется заявленная мощность.
  • Эффективное преобразование напряжения. КПД не менее 85 %.
  • Отсутствие негативного влияния на системы автоматики. Соответствует международным нормам по помехоэмиссии и помехоустойчивости.
  • Оптимальный выбор мощности для высокоемкостной нагрузки.
  • Режим стабилизации тока.
  • Регулировка выходного напряжения с помощью внутреннего подстроечного резистора в диапазоне ±8 % от номинального выходного напряжения с сохранением мощности.
  • Защита от перенапряжения и импульсных помех на входе.
  • Защита от перегрузки, короткого замыкания и перегрева.

Технические характеристики

Характеристика

БП120Б-Д9-24С

Входное напряжение

90...264 В переменного тока

 

Частота входного переменного напряжения

47...63 Гц

 

Порог срабатывания защиты по току

1,2...1,4 Imax

 

Максимальная выходная мощность

120 Вт

 

Нестабильность выходного напряжения при изменении напряжения питания

±0,2 %

Нестабильность выходного напряжения при изменении тока нагрузки от 0,1 Imax до Imax

±0,2 %

Рабочий диапазон температур

–40...+70 oC

 

Коэффициент температурной нестабильности выходного напряжения в рабочем диапазоне температур

±0,015 %/oC

Электрическая прочность изоляции:

- вход — выход (действующее значение)

- вход — корпус (действующее значение)

 

 

 

3 кВ

 

3 кВ

 

Тип и габаритные размеры корпуса

Д9 (157x90x58)

 

Тип и габаритные размеры корпуса

 

Степень защиты корпуса (со стороны передней панели)

IP20

Выходные параметры БП120

Модификация прибора

Выходное напряжение, В*

Амплитуда пульсации вых. напряжения, мВ

Макс. ток нагрузки Imax, А

БП120Б-Д9-24С

24±1 %

120

5

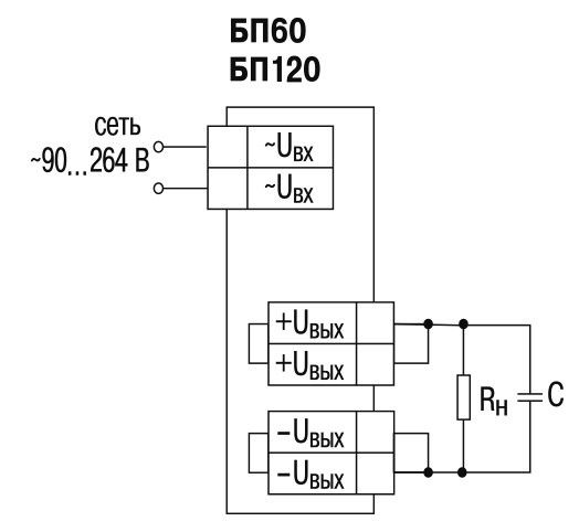
Схема подключения

Схема подключения ОВЕН БП120Б-Д9-24С

Документация

Руководство по эксплуатации БП120Б-Д9-24C: скачать...