ПД100-ДИ1,6-115-0,5 Овен

Производитель: Овен
Номер по каталогу: 14585 Производитель: Овен Цена: 21 350.00 q ( с НДС ) Описание: На заказ! Верхний предел измерения - 1,6МПа, штуцер М20x1,5 манометрический, класс точности - ±0,5% от ВПИ, с измерительной мембраной из нержавеющей стали и «полевым корпусом».
  • Техническое описание
  • Документация

ПД100-ДИ1,6-115-0,5

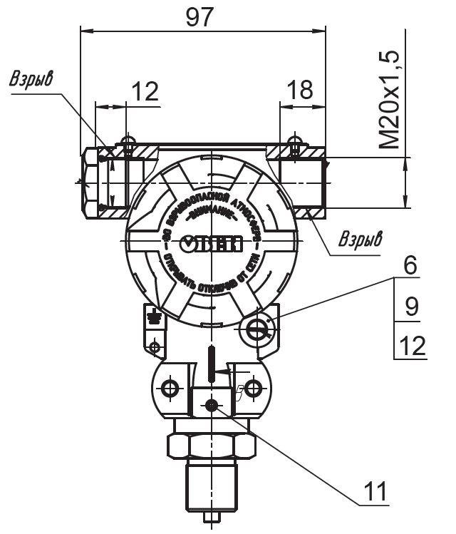
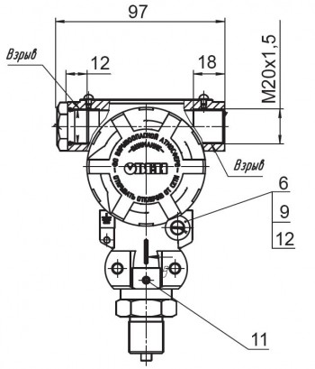
Датчики ОВЕН ПД100 модели 115 представляют собой преобразователи давления с измерительной мембраной из нержавеющей стали и «полевым корпусом» с кабельным вводом под гибкий кабель 6 – 8 мм.

Данная модель характеризуется повышенной устойчивостью к эксплуатации в тяжелых условиях (в условиях Крайнего Севера и т.п.) и наличием взрывозащищенного исполнения 1ExdIICT6Gb.

Преобразователи данной модели предназначены для систем автоматического регулирования и управления в промышленности на основных и вторичных производствах, расположенных в сложных климатических и иных условиях, требующих применения оборудования в «полевом» корпусе: газотранспортных и газораспределительных системах, нефтепромыслах, объектах транспортировки нефти, НПЗ, объектах энергетики и т.п.

Основные характеристики преобразователя для сложных условий в полевом корпусе ПД100 серии 115:

  • ИЗМЕРЕНИЕ избыточного/вакуумметрического/избыточно-вакуумметрического давления нейтральных к нержавеющей стали AISI 316L (AISI 304S) сред (пар, вода, газы в том числе природный, масло, слабоагрессивные жидкости и т.п.) в сложных условиях эксплуатации. 
  • ПРЕОБРАЗОВАНИЕ давления в унифицированный сигнал постоянного тока 4...20 мА.
  • ВЕРХНИЙ ПРЕДЕЛ измеряемого давления (ВПИ) – от 10 кПа до 6,0 (10*) МПа. 
  • ПЕРЕГРУЗОЧНАЯ СПОСОБНОСТЬ – от 200% ВПИ и выше. 
  • ОСНОВНАЯ ПРИВЕДЕННАЯ ПОГРЕШНОСТЬ – 0,25; 0,5 % ВПИ.
  • ВЗРЫВОЗАЩИТА «ВЗРЫВОНЕПРОНИЦАЕМАЯ ОБОЛОЧКА» 1ExdIICT6Gb – опционально.
  • СТЕПЕНЬ ЗАЩИТЫ корпуса и электроразъёма преобразователя – IP65. 
  • ПОМЕХОУСТОЙЧИВОСТЬ удовлетворяют требованиям к оборудованию класса А по ГОСТ Р 51522. 
Технические характеристики:
 

Наименование 

Значение 

Выходной сигнал постоянного тока 4...20 мА, 2-х проводная схема
Основная приведенная погрешность 0,25; 0,5 % ВПИ
Диапазон рабочих температур измеряемой среды –40…+100 °С
Напряжение питания 12…36 В постоянного тока
Сопротивление нагрузки 0…1,0 кОм (в зависимости от напряжения питания)
Потребляемая мощность не более 0,8 Вт
Устойчивость к механическим группа исполнения V3
воздействиям по ГОСТ Р 52931
Степень защиты корпуса IP65
Устойчивость к климатическим воздействиям УХЛ3.1
Диапазон рабочих температур окружающего воздуха –40…+80 °С
Атмосферное давление рабочее 66...106,7 кПа
Среднее время наработки на отказ не менее 500 000 ч
Средний срок службы 12 лет
Межповерочный интервал 2 года
Методика поверки КУВФ.406230.100 МП
Вес без упаковки не более 0,5 кг
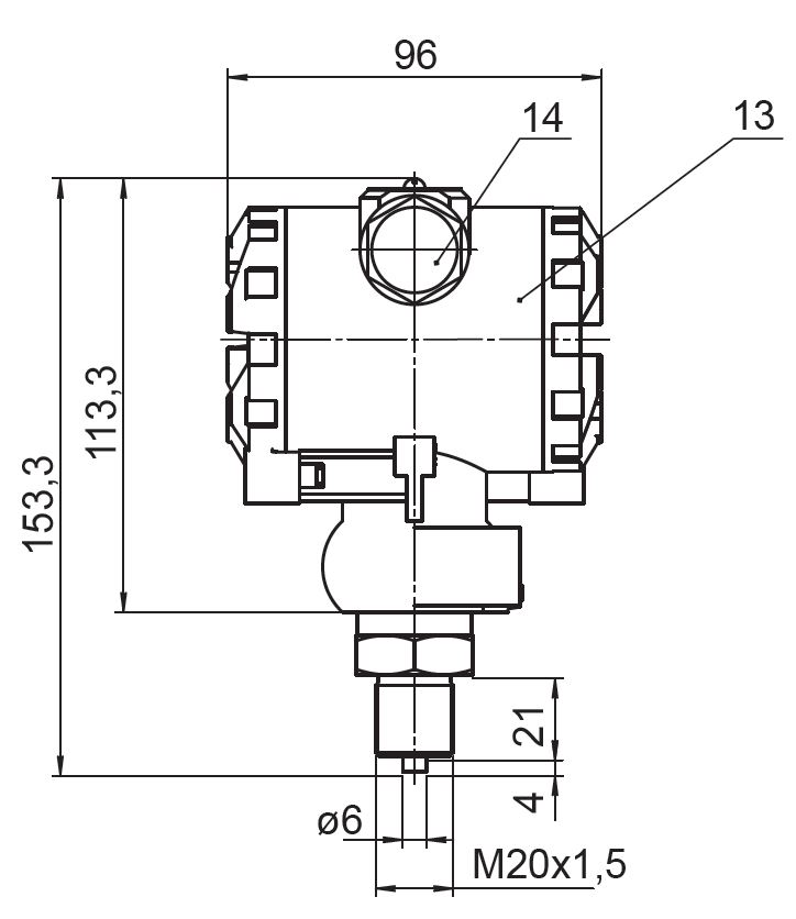
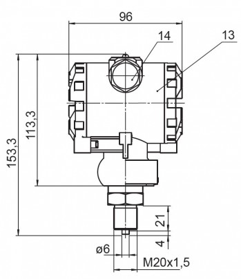
Штуцер для подключения давления M20х1,5 по ГОСТ 2405-88, черт.20
Тип электрического соединителя Кабельный ввод в полевой корпус
Габаритный размер  не более 155х100 мм
Предельное давление перегрузки не менее 200 % от ВПИ
 
Схема подключения ПД100:
 
Схема подключения ПД100–ДД, –ДИ,–ДИВ
 
Габаритные размеры:
 
Габаритные размеры Габаритные размеры
 
Документация по прибору

Общее руководство по эксплуатации на датчики ПД100-хх: скачать...

Краткая инструкция ПД100 (КИ на приборы серии ПД100 (кроме ПД100-ДГ): скачать...

Презентация ПД100 и ПД200: скачать...